一、概述:
電動滾筒作為皮帶輸送機和提升等設備的動力。廣泛用于礦山、冶金、化工、煤炭、建材、電力、糧食及交通運輸等部門。雙箭輸送生產的電動滾筒主要有定軸齒輪、行星齒輪、擺線針輪三種傳動形式,安裝形式電機內置、外置和移動式,電機內置時有油冷和油浸兩種形式,由于電動滾筒與一般的減速機構相比,具有結構緊湊、重量輕、密封性好、安裝方便等優點,深得客戶的歡迎。
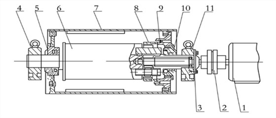
二、外形圖:
1、電機,2、聯軸器,3、氈圈,4、支座體,5左端蓋,6、輸入軸,7、滾筒體,8、低速級行星輪,9、齒圈,10、高速級行星輪,11、支座體
三、 滾筒的表面覆面:
表面有裸露光鋼面,平滑橡膠、人字形橡膠和菱形花紋橡膠覆面四種。
四、我廠生產的電動滾筒主要是:
TDY75型油冷式電動滾筒;DY1、JYD型移動電動滾筒;YZ型擺線針輪電動滾筒;YTW型外裝式減速滾筒以及各類非標電動滾筒。

(1)TDY75型油冷式電動滾筒采用固定式膠帶機的內驅動裝置,其內部采用定軸齒輪二級傳動,屬于老產品,但用途廣泛,與減速機相比較,具有占地小、重量輕、外觀整齊、效率高,廣泛使用在粉塵、潮濕泥濘的惡劣環境中。
(2)YZ型擺線針輪電動滾筒內部采用擺線針輪傳動,是由一級硬齒面的針齒殼輸出的擺線針輪減速機構,擺線輪、針齒等采用軸承鋼制造,硬度達到HRC58-62,具有承載能力大、過載能力強、傳動平穩、噪音低、壽命長等優點。
(3)外裝式電動滾筒是將普通電動滾筒中的電動機移出來外接,筒體內仍有減速機構,它是介于傳統電機-減速機-傳動滾筒的開式傳動與普通電動滾筒驅動之間的一種輸送機驅動裝置。
首先,它具有良好的散熱性,而且容易對電機進行維修或更換。
其次,在占有空間位置和制造材料方面,均比開式傳動減少三分之一左右,但又比普通電動滾筒增加三分之一左右。外裝式電動滾筒,由于電機散熱的優點,在某些大功率場合還是比較合適的驅動。
五、電動滾筒功率的計算:
關于輸送機械所需要的驅動功率的計算公式,在許多設計手冊中都有這樣的詳細介紹,驅動功率通常的由三部分組成,即:輸送機空運轉時所需要的功率,輸送機水平運送負荷時所需要的功率和輸送機提升負荷時所需要的功率。
為了使電動滾筒的設計計算與用戶的使用要求統一起來,雙箭輸送推薦采用下列公式計算:
P= C xF x L(3.6Gm x Qt) + Qt x H
3 6 736 7
式中:
P---電動滾筒的軸功率
c---輸送帶、軸承等處的阻力系數,數值可從表中查到
f---托輥的阻力系數,f=0.025~0.030
L---輸送機的電動滾筒與改向滾筒之間中心距的水平投影(m)
Gm---輸送帶、托輥、該向滾筒等旋轉零件的重量,數值可從表4中查到(kg/m)
V---帶速(M/S)
Qt---輸送量(T/h)
H---輸送高度(m)
B---帶寬(mm)
電動滾筒的按鈕可按下列公式計算:式中:M------扭矩(Nm) D---滾筒直徑(m) P---功率(KW) V---帶速(m/sec)
M = 500x D x P
V
以上數據僅供參考,如有需求請致電本公司
六、電動滾筒選型注意事項:
按照上述公式計算出的電動滾筒功率在下列情況下需要進行修正:
(1)電動滾筒每天連寫工作超過8小時,點擊功率需提高一檔;
(2)筒體包膠的電動滾筒,點擊功率應提高一檔;
(3)啟動頻繁的電動滾筒,點擊功率應提高一檔。
七:電動滾筒使用注意事項:
(1)使用前應檢查滾筒內部油量,油量以滾筒直徑的2/5為宜;檢查電機接線是否正確(注:滾筒出廠時為無油狀態)。
(2)滾筒須空載啟動。
(3)滾筒工作300小時后更換潤滑油(潤滑油牌號:油冷式加N46號,油浸式加N32號汽輪機油)以后每隔5000小時換油一次并進行保養維修。
(4)定期檢查油位,根據密封情況調整油封彈簧或更換油封。
(5)電動滾筒電器線路中應安裝相配套的過載,缺相運行等保護裝置,避免因電路故障燒壞點擊,造成損失。
(6)電動滾筒應當水平安裝,傾角不超過5°。
(7)電動滾筒工作的環境溫度應位-10°至40℃,物料溫度小于60℃,海拔高度不要超過1000米,如果工作環境超出上述范圍,請與生產廠聯系解決。
江蘇雙箭輸送機械有限公司有專業的設計團隊、合理的生產流程、完善的檢測過程、良好的售后服務,以此打造出江蘇雙箭品質。公司目前已貫徹ISO9001:2008質量體系認證,并嚴格按照其要求進行規范管理,確保每只產品合格出廠。產品目前已遠銷西班牙,德國,智利,中東等國,其質量深受顧客好評。咨詢QQ:1210189900.還可以關注我們
微信公眾號:sjssjx
雙箭官方網站: http://m.xsbooking.cn
雙箭阿里巴巴官方網站: http://jssjssjx.1688.com

雙箭-槽型托輥組
雙箭-緩沖托輥
雙箭-DTII帶式輸送機
雙箭-拉繩開關
雙箭-鼠籠式滾筒
雙箭-滾花式滾筒
雙箭-V型空段清掃器
雙箭-不銹鋼緩沖床Y